最新游戏机有哪些 任天堂全新游戏机曝光,Switch要开启“折叠纪元”?
任天堂全新游戏机曝光,Switch要开启“折叠纪元”?
时至今日,任天堂Switch的累计销量超过1.29亿台,软件销量超10.3亿份,目前仍然是全球最畅销的便携游戏主机。纵使Switch有各种不是,但这还是第一方游戏的最佳之选。
有着“6年高龄”的任天堂Switch,距离10年里程碑还有一小半。但硬件配置过时,游戏表现能力跟不上时代发展,最近的Switch OLED也只是“小修小补”,导致网友对它的下一代产品有着无限期待。
(图源:Nintendo官方)
外界对下一代Switch的猜测可谓天马行空,也有“清醒派”认为,任天堂不可能会做如此激进的硬件升级。
又或者说,Switch只是任天堂在便携式游戏机的一个脚印,下一代或许不叫“Switch”,更不是可拆卸手柄的掌机形态。
近日,据Gamerant报道,任天堂申请了一项可拆卸多屏幕折叠设备的专利,难道可折叠的“Switch”要来了吗?
(图源:Gamerant)
三屏还便携,“Switch”也要进入“折叠纪元”?
从专利图示意来看,任天堂新设备的形态颇有已停产的Nintendo 3DS的影子。有趣的是,设备可以作为折叠形式打开/合上,也可以在需要分享快乐的时候拆分成两台独立的游戏设备,两个部分通过无线通信连接,让两个玩家使用同一台设备玩游戏。
(图源:Gamerant)
其中一个部分的正反面各拥有一块屏幕,外屏或许是方便玩家以触屏的形式完成游戏的部分操作。严格来说,这是一台拥有三块屏幕的“Switch”。
专利图的新设备,在我看来和Switch有一定的共同语言,那就是“分享快乐”,通过可拆卸的设计,让一台设备满足两人甚至是更多的游戏需求。不过问题就在于,设备两部分的屏幕并非统同尺寸,手柄布局不对等,拆开后的游戏体验可能不统一。
折叠掌机并不少见,并且有机会成为未来的一大设计主流,除了标杆Nintendo 3DS外,AYANEO近期也公布了以折叠设计为主的AYANEO FLIP,有KB和DS两个版本,后者就是双屏设计。
(图源:AYANEO)
智能手机行业进化到折叠时代,游戏主机也要进入“折叠纪元”?
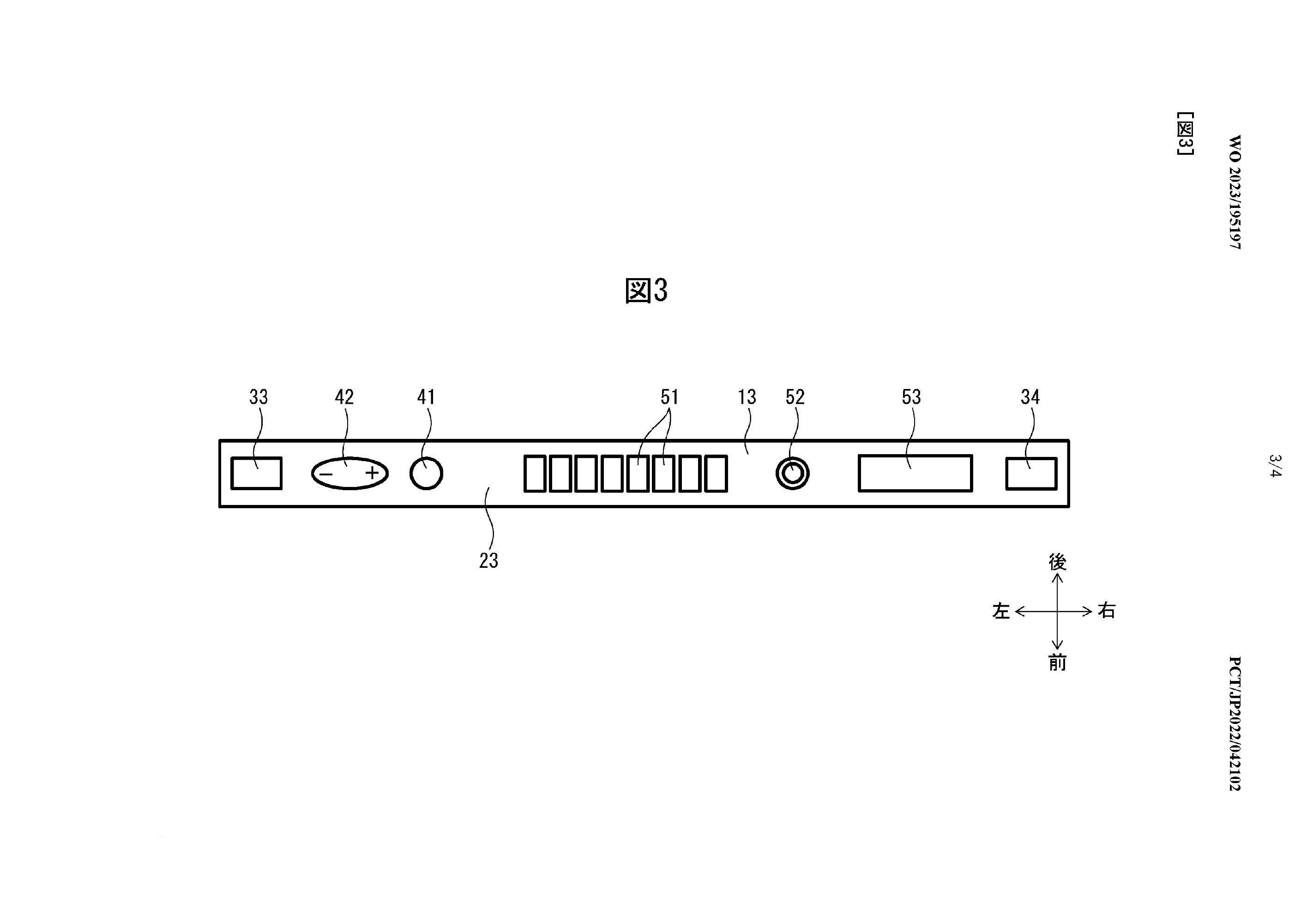
事实上,任天堂早前还公布了另外两款新设备的设计专利,分别为“便携式游戏设备”和“睡眠游戏”,前者是一款类似Switch Lite的便携式游戏主机,手柄为不可拆卸的状态。其中“50”和“51”据说是用于进气和排气的槽口,可见任天堂在探索主动风冷散热的可行性,也就意味着背后有高性能硬件做支撑。
(图源:Nintendo)
而“睡眠游戏”是通过一系列技术,根据测量结果对用户的睡眠质量进行分析。用户的睡眠质量结果,最终会影响到游戏的进度。
(图源:Nintendo)
任天堂希望将游戏进度植入到游戏当中,让玩家对睡眠一事带有更多动力和目的性。在我看来,任天堂在不断开发玩家与游戏交互的可能性,《Switch运动》等一系列主打人机体感交互的游戏,是目前为数不多的“第一方体验”。
同样的,针对全新的主机设计,第一方游戏适配也将会是一个漫长的过程。究竟是希望玩到更多的游戏,还是基于硬件至上获得更多的玩法和性能上限,任天堂应该更倾向前者。
毕竟带给任天堂更大利益的,其实还是背后庞大的第一方游戏矩阵。新产品折不折叠并不重要,任天堂只需要证明,自己还是第一方主机游戏的标杆,有能力做到更优秀的游戏体验,那么这就足矣。
总之,它们都有可能是下一代“Switch”的解决方案之一,但在新一代任天堂游戏主机出来之前,谁都不清楚具体的答案。专利毕竟是专利,任天堂并不一定会将其变为现实。
当然,得益于VR/AR/MR生态的发展,头显类的主机设备备受重视。有网友认为以任天堂的软件开发能力和创意,进军虚拟现实交互或许比“致敬”3DS更强。其实老任的官网正在销售一套名为“Nintendo Labo Toy-Con”的组合套装,围绕Switch开发,把更多的游玩空间交给玩家。
(图源:Nintendo官网)
别怕,再等等,任天堂的新研发大楼建成了,新的游戏主机也就不远了吧。
下一代Switch的重点,或是游戏画面
游戏和主机在任天堂里,或许是一个迟迟未解开的矛盾。
任天堂打造了一个独一无二的游戏生态,还打造了多个现象级别的IP,无论是做影视还是游戏,这家公司总会有独到的理解和令人意外的体验。不过就Switch来看,它的硬件性能,似乎没什么服众能力。
(图源:Nintendo官方)
2017年发布的主机产品,采用的是英伟达2015年推出的Tegra X1处理平台,对于Switch这样站在“中年”阶段的产品来说,面对更多玩法、特效更精美的新款大作已经是“有心无力”。
公认为“平台护航大作”的《塞尔达传说:旷野之息》以及最新上市的《塞尔达传说:王国之泪》,在Switch上运行颇为吃力,显示分辨率低、游戏帧数低,以及复杂场景带来的掉帧。说到这里不免一想,如果Switch性能好点,玩游戏的视觉体验是否会更好一些?
顺带一提,《塞尔达传说:王国之泪》的销量已经超过了1851万份。
但就目前来看,为了在Switch平台上顺利运行游戏,开发团队应该是做了不少妥协,不惜降低视觉表现,尽可能维持游戏本身的核心体验。
往好了看,Switch的续航能力足够突出,不需要“挂吊瓶”也可以在外玩很长一段时间。
(图源:Nintendo官方)
可以说游戏的设计和玩法才是核心,只不过在我看来,一款游戏的美术设计,游戏厂商同样倾注了大量的心血,画面效果也是游戏的一大组成部分。因为平台性能不足而去牺牲画面表现,玩家得不到完整体验,总会觉得几百块钱不太值当。
关于下一代Switch的硬件提升说法众多,不乏各种“支持DLSS” “高性能芯片” “高清显示屏”等, 把升级重点放在配置提升上。有保守观望的人认为,大幅度配置升级不是任天堂的作风。
任天堂美国总裁道格·鲍瑟在接受采访时强调,下一代Switch的重点不是性能,而是画面会发生什么。 尽管他没有明确新游戏机的具体参数,但由此可见,网络上流传的“Switch 2”会在画面表现上做出重大升级与革新。
同时,讨论到主机迭代这一话题时,道格·鲍瑟也在暗示,Switch 2或许可以向下兼容现款Switch所有游戏,部分游戏也会存在重制版本。 或许,官方的确有在规划新游戏机项目。我们心心念念的Switch后续机型,已经在路上了。
坐拥庞大游戏生态的任天堂,光靠第一方游戏就足以将用户牢牢“绑”住,市场上并没有能够对其造成直接影响的厂商,对硬件迭代的态度相对来说也会更消极。不过我相信,每一次任天堂新主机的降临,总会给世界带来意想不到的惊喜。
「必买」2021年度游戏机推荐 建议都买不要挑了
心里总想买点啥?看看【必买】,全网最有料的场景种草指南!
老一代人社交是一起喝酒、打牌、坐在一起聊八卦,但现在新青年们的社交要干点啥呢?之前那些似乎都有点老套,不知道你们咋样,我身边的朋友绝大多数都是凑在一起打游戏,虽然还有什么剧本杀、桌游、KTV,但似乎真正能让所有人都提起兴趣的就是打游戏了。
家庭游戏
电脑游戏作品很多,但绝大多数其实都是针对单人玩的,即使是一起联机,基本上线上就解决了,真要是面对面了,总不能搞个LAN Party似的,每人带上自己的电脑坐一起开黑吧。
网游还需要前期升级攒装备,想要带媳妇、孩子、父母一起玩,基本上不可能,但是游戏机就可以解决这个问题,真要是谈家庭游戏,我觉得游戏机就是最好的形态。2021年特殊环境让我们有了更多和家人待在一起的时间,千万不要觉得无聊,一起找点乐子吧。
01 Nintendo Switch OLED——每个家庭都应该有一台
上个月有媒体爆料,任天堂Switch游戏机完成了总销量过1亿台的成就,成为了史上第七个销量破亿台的游戏机,可喜可贺,任天堂被大家戏称为老任,推出过无数的经典游戏,马力欧系列、塞尔达系列、宝可梦系列,都是他的经典游戏IP,而之前同样销量过亿的游戏机Gameboy,NDS,wii都是出自任天堂之手。
Gameboy
老任的经典特色就是做的全年龄向的游戏非常不错,大多数他的经典游戏都是下至刚会走,上到九十九,都可以很快上手享受游戏的乐趣,这也就成了家庭聚会必备的娱乐神器。
Switch游戏机
我为啥会说每个家庭都应该有一台Switch呢?过年过节一群人在家里干点啥呢?每天看电视剧刷手机是不是也很没意思,大家一起打开Switch 玩上一会《超级马力欧派对》,全年龄向的小游戏,活动身体还能有适度的竞技感,小朋友爱玩,父母乐于尝试,一家人玩得非常欢乐,是不是增进感情的神器?
想要健身的朋友一定不能错过的就是《健身环大冒险》,与其说是一个游戏,倒不如说是一个简单的健身课程,但是又融入了闯关的元素,让你锻炼的过程一点充满成就感,丝毫不乏味。能很大程度提升你坚持下去的兴趣。
经典的开放世界游戏《塞尔达传说:荒野之息》也是Switch游戏机上市的护航大作,狼叫兽在首发的时候为了玩这款游戏就买了Switch游戏机,实在是太好玩了,之前只玩PC游戏的话,很可能想不到除了键鼠之外还有这么多与游戏的互动方式,并且开放世界非常耐玩,狼叫兽当初玩了几个月。Switch本身还是一台掌机,你可以随时带走,到哪里去玩都没有问题,这个太爽了。
最新的Switch游戏机是小升级换代的OLED版本,屏幕稍微变大了一点点,材质变成了OLED,外观和一些细节方面有一点微调,机身容量也从32GB扩大到了64GB,狼叫兽最近就入手了这款,也是比较推荐大家买这个。
需要注意的是如果只玩单机模式的游戏,并且想玩的游戏都有实体游戏卡带的话,可以买腾讯代理的国行版本Switch,目前OLED版本也已经有国行版了,享受完善的售后服务。如果想要玩互联网联机模式或者想要在线上商店购买游戏的话,则需要考虑海外版的Switch游戏机和海外版的游戏卡带,两个版本是不兼容的,不要买错了。
必买理由:全年龄向的独占游戏,家庭娱乐必备神器。
必买值(满分5颗星):★★★★★
必买直通车:任天堂Nintendo Switch游戏机(OLED版)配白色Joy-Con
02 SONY PlayStation 5——耍猴抢购的宝贝
第二名是一直发售一直缺货,但官方总能一点一点放出点货给大家抢购的索尼PS5,新一代的PlayStation 游戏机不仅仅性能又一次大升级,主要是从机械硬盘升级到了固态硬盘,并且一口气就跳跃到的PCI-E 4.0固态硬盘,这个机器运行速度可是瞬间起飞,在电视上玩4K高清游戏也完全没压力。
PS5
除了性能的升级,还有一个大革新,全新的DualSense手柄的加入增加了更多的细节玩法,索尼甚至专门为了展现新手柄的神奇功能,做了一款做工精良但免费的游戏来送给每个玩家体验。
DualSense手柄
新的DualSense手柄增加了自适应扳机键,可以在你扣动的时候根据游戏内容给你相应的阻力,让你有一种真的在用力的反馈。手柄中部添加了触控板与灯光,同样是与游戏内容进行联动,增加了更多与游戏内容的互动方式。
PS5确实很好也导致了他从上市到现在一直还处在缺货抢购的状态,现在索尼每次放货都会有一些奇怪的捆绑套装一起,比如之前推出过的:《麻布仔大冒险》游戏加DS手柄加PS5游戏机的套装,索尼耳机加DS手柄加PS5游戏机的套装,PS5游戏机加纪梵希散粉化妆品的套装,以及最近一直在放货的PS5游戏机加额外DS手柄套装,反正是能捆绑的都给你捆上了,能不能抢到就看你的运气了,这可真是把耍猴抢购玩出花了。
双手柄套装版
在这里也给大家分享一下经验,这种热门的游戏机,线上黄牛加价这么严重,其实完全没必要继续在线上蹲守了,线下的索尼PlayStation旗舰店以及一些第三方电玩店,早就有很多货源供应了,基本上如果你从首发开始就在线下店预订PS5游戏机的话,现在应该没有人没拿到货的了,面对真正的玩家,索尼还是很照顾的,限量放货其实也是怕黄牛囤货加价。
必买理由:机器大升级,手柄新功能新体验,独占游戏大作很多很爽。
必买值(满分5颗星):★★★★
必买直通车:索尼(SONY)PS5 PlayStation®5(点进去也没用,现在还是没货)
03 Xbox Series X——没货,眼馋
比索尼PS5缺货还离谱的当属微软Xbox Series X,这款全新的Xbox游戏机拥有前所未有的性能,同样搭载PCI-E 4.0固态硬盘,添加了一个全新的快速唤醒功能,可以把游戏当前的进度直接保存起来,下次你继续玩的时候可以瞬间回到上次退出的地方。
Xbox Series X/S
XBOX主机的优势不仅仅是性能表现,他的游戏生态也很不错,微软首先就是一个非常高产的游戏公司,并且还有着PC平台作为后盾,很多内容都可以做到PC和XBOX互通,比如很多游戏,你在Windows商店购买之后你就可以同步拥有XBOX版本。
快速唤醒
而且XGP订阅服务也让你可以通过每月付费即可畅玩大量游戏作品,很多3A大作首发当日就会加入XGP免费畅玩的名单,可以说是游戏尝鲜的一种很实惠的方式。
讲了这么多好处其实也没啥用处,Xbox Series X基本上除了首批的那些货之外,后来基本上都没见到放货,甚至连抢购活动都很少见,想要入手的话还是建议去线下的微软旗舰店预约试试,可能会有更多货源和优惠活动。
本代Xbox Series X还有一个同代的小弟产品,Xbox Series S,体积更小,没有光驱,稍微缩减了性能和容量,但提升了便携性,如果想要便宜入手一个Xbox主机,并且希望可以比较方便装进包里带走,可以考虑这一款,最主要是相对XSX,XSS更好买到一些。
微软京东官方店现在不仅XSX、XSS主机没货,连它们这一代的手柄也都卖光了(只有精英柄2代还有货),现在真就只剩下眼馋了。
必买理由:与PC连接紧密的主机平台,XGP订阅超划算。
必买值(满分5颗星):★★★★
必买直通车:微软(Microsoft)Xbox Series X 游戏机丨XSX
关注【必买】指南,全网科技好物,一网打尽。
(7851616)





发表评论